Docker
安装docker
环境准备
centOs7
xshell
环境查看
[root@VM-0-2-centos ~]# uname -r
3.10.0-862.el7.x86_64
系统配置
[root@VM-0-2-centos ~]# cat /etc/os-release
NAME="CentOS Linux"
VERSION="7 (Core)"
ID="centos"
ID_LIKE="rhel fedora"
VERSION_ID="7"
PRETTY_NAME="CentOS Linux 7 (Core)"
ANSI_COLOR="0;31"
CPE_NAME="cpe:/o:centos:centos:7"
HOME_URL="https://www.centos.org/"
BUG_REPORT_URL="https://bugs.centos.org/"
CENTOS_MANTISBT_PROJECT="CentOS-7"
CENTOS_MANTISBT_PROJECT_VERSION="7"
REDHAT_SUPPORT_PRODUCT="centos"
REDHAT_SUPPORT_PRODUCT_VERSION="7"
安装
卸载旧版本
Docker 的较旧版本被调用或 。如果安装了这些组件,请卸载它们以及关联的依赖项。dockerdocker-engine
yum remove docker \
docker-client \
docker-client-latest \
docker-common \
docker-latest \
docker-latest-logrotate \
docker-logrotate \
docker-engine
需要的安装包
yum install -y yum-utils
yum-config-manager \
--add-repo \
#https://download.docker.com/linux/centos/docker-ce.repo #镜像默认国外的十分慢,我们用国内的
https://mirrors.aliyun.com/docker-ce/linux/centos/docker-ce.repo #推荐使用阿里云的
安装码头机
- 安装最新版本的Docker 引擎和容器,或转到下一步以安装特定版本:
——更新并安装Docker-CE
yum makecache fast
#ce社区版 ee企业版
yum install docker-ce docker-ce-cli containerd.io
- 要安装特定版本的Docker 引擎,请在存储库中列出可用版本,然后选择并安装:
- 启动 Docker。
systemctl start docker
——通过 docker version 查看详细信息 查看是否安装成功
- 通过运行映像验证 Docker 引擎安装是否正确。hello-world
docker run hello-world
查看hello-world镜像
[root@VM-0-2-centos ~]# docker images
REPOSITORY TAG IMAGE ID CREATED SIZE
hello-world latest bf756fb1ae65 8 months ago 13.3kB
了解:卸载docker
- 卸载 Docker 引擎、CLI 和容器包:
yum remove docker-ce docker-ce-cli containerd.io
- 主机上的图像、容器、卷或自定义配置文件不会自动删除。要删除所有图像、容器和卷:
rm -rf /var/lib/docker
腾讯云镜像加速
执行以下命令,打开 /etc/docker/daemon.json 配置文件。
vim /etc/docker/daemon.json
按 i 切换至编辑模式,添加以下内容,并保存。
{
"registry-mirrors": [
"https://mirror.ccs.tencentyun.com"
]
}
重启镜像
sudo systemctl daemon-reload
重启docker
sudo systemctl restart docker
run的流程和docker原理
![]()
docker的原理
docker是怎么工作的
docker是一个 clent-server 结构的系统,docker的守护进程运行在主机上,通过socket从客服端访问
docker-server接收到clent发来的指令,就会执行这个命令。
![]()
docker为什么比vm快
- docker有着比虚拟机更少的抽象层
- docker用的是宿主机的内核,vm用的自己的,需要搭建。
![]()
所以说。新建一个容器的时候,docker不需要重新加载一个操作系统的内核。避免一些引导性的操作
docker的命令
帮助命令
//显示docker的版本信息
docker version
//查看docker信息
docker info
//帮助命令
docker 命令 --help
镜像命令
[root@VM-0-2-centos ~]# docker images
REPOSITORY TAG IMAGE ID CREATED SIZE
hello-world latest bf756fb1ae65 8 months ago 13.3kB
REPOSITORY 镜像在仓库里的名字
TAG 镜像标签
IMAGE ID 镜像id
CREATED 镜像创建时间
SIZE 镜像大小
Options:
-a, --all Show all images (default hides intermediate images) 列出所以镜像
-q, --quiet Only show numeric IDs 只显示id
搜索镜像
docker search mysql docker search 要搜索的镜像
Options:
-f, --filter 镜像搜索过滤
比如:
docker search mysql --filter=stars=3000 搜索mysql镜像收藏大于3000的
下载镜像
docker pull 下载镜像命令
Options:
-a, --all-tags Download all tagged images in the repository
-q, --quiet Suppress verbose output
docker pull mysql 默认下载最新版mysql
docker pull mysql[:tag] 指定版本
[root@VM-0-2-centos ~]# docker pull mysql
Using default tag: latest 如果不写tag 默认latest(最后一个)
latest: Pulling from library/mysql 分成下载 docker images 的核心 联合文件系统
d121f8d1c412: Pull complete
f3cebc0b4691: Pull complete
1862755a0b37: Pull complete
489b44f3dbb4: Pull complete
690874f836db: Pull complete
baa8be383ffb: Pull complete
55356608b4ac: Pull complete
dd35ceccb6eb: Pull complete
429b35712b19: Pull complete
162d8291095c: Pull complete
5e500ef7181b: Pull complete
af7528e958b6: Pull complete
Digest: sha256:e1bfe11693ed2052cb3b4e5fa356c65381129e87e38551c6cd6ec532ebe0e808 签名 防伪标志
Status: Downloaded newer image for mysql:latest
docker.io/library/mysql:latest 真实地址
[root@VM-0-2-centos ~]# docker pull mysql:5.7 指定版本
删除镜像
docker rmi rm 删除 i镜像 rmi删除镜像
docker rmi -f 镜像id
[root@VM-0-2-centos ~]# docker rmi ef08065b0a30
Untagged: mysql:5.7
Untagged: mysql@sha256:14fd47ec8724954b63d1a236d2299b8da25c9bbb8eacc739bb88038d82da4919
Deleted: sha256:ef08065b0a302111b56966aa92c89fa0bacdfc537741cbca88a15b10f14332ca
Deleted: sha256:c8c81ac92392c394197759ca3d50f5f843d85ac1550d8c0bb2b21adc7334100d
Deleted: sha256:2dc86a1b9b92e7c946c684bd349e448d7c4fbb3236686e1a48ddfe5adb86a425
Deleted: sha256:97b541df82456d38e987b630870fcd4e39f05f016717652466b3466841f4162e
docker rmi id id id id id 删除多个id
docker rmi -f $(docker images -aq)删除所有镜像
列出所以镜像,一个一个删除
docker rmi -f $(docker images -aq)
容器命令
说明:有了镜像才能创建容器,下载一个镜像来测试学习
docker pull centos
新建容器并启动
docker run [可选参数] images
# 参数说明
--name = "name" 指定容器的名字
-d 后台运行
-it 指定交互方式,进入容器查看内容
-p 指定容器的端口
-P (大写) 随机指定端口
-p ip:端口:端口 ip:主机端口:容器端口 ====》常用方式
# 测试
[root@VM-0-2-centos ~]# docker run -it centos
[root@9c8860dff889 /]# ls
bin dev etc home lib lib64 lost+found media mnt opt proc root run sbin srv sys tmp usr var
[root@VM-0-2-centos ~]# docker run -it centos /bin/bash # 很多命令都不完善
[root@64c412d778c3 /]# ls
bin dev etc home lib lib64 lost+found media mnt opt proc root run sbin srv sys tmp usr var #
[root@64c412d778c3 /]#
# 从宿主机中退出
[root@64c412d778c3 /]# exit
exit
列出所有正在运行的容
docker ps
-a 曾经运行过的所以容器
-n=? 最近创建的容器
-q 只显示容器的编号
[root@VM-0-2-centos ~]# docker ps
CONTAINER ID IMAGE COMMAND CREATED STATUS PORTS NAMES
docker ps -a 查看曾经运行过的容器
[root@VM-0-2-centos ~]# docker ps -a
CONTAINER ID IMAGE COMMAND CREATED STATUS PORTS NAMES
64c412d778c3 centos "/bin/bash" 5 minutes ago Exited (0) 3 minutes ago thirsty_hopper
9c8860dff889 centos "/bin/bash" 6 minutes ago Exited (0) 5 minutes ago kind_mclean
1e7db2c21e86 hello-world "/hello" 19 hours ago Exited (0) 19 hours ago bold_lalande
# 曾经运行过的容器 只显示id
[root@VM-0-2-centos ~]# docker ps -aq
64c412d778c3
9c8860dff889
1e7db2c21e86
退出容器
exit #停止并退出
ctrl+p+q 容器不停止退出
删除容器
docker rm 容器id
Options:
-f, --force 强制移除正在运行的容器(使用SIGKILL)
-l, --link 删除指定的链接
-v, --volumes 删除与容器关联的匿名卷
[root@VM-0-2-centos ~]#
启动和停止容器的操作
docker start 容器id 启动容器
docker restart 容器id 重启容器
docker stop 容器id 重启容器
docker kill 容器id 强制关闭容器
常用其他命令
后台启动容器
root@VM-0-2-centos ~]# docker run -d centos 使用-d启动后台的坑
8ea5a89683a6545709291e3ff32c63299fd5de42943e0b036fc273c5aca5e98b
[root@VM-0-2-centos ~]# docker ps 发现容器没有启动 其实是停止了, docker使用后台运行就必须要有有一个前台进程,否者docker认为没有应用了,就会自动停止。
CONTAINER ID IMAGE COMMAND CREATED STATUS PORTS NAMES
[root@VM-0-2-centos ~]# docker ps -a
CONTAINER ID IMAGE COMMAND CREATED STATUS PORTS NAMES
8ea5a89683a6 centos "/bin/bash" 19 seconds ago Exited (0) 18 seconds ago loving_moore
64c412d778c3 centos "/bin/bash" 42 minutes ago Exited (0) 41 minutes ago thirsty_hopper
9c8860dff889 centos "/bin/bash" 44 minutes ago Exited (0) 43 minutes ago kind_mclean
1e7db2c21e86 hello-world "/hello" 19 hours ago Exited (0) 19 hours ago bold_lalande
查看日志命令
docker logs
Options:
--details 显示提供给日志的额外细节
-f, --follow 跟踪日志输出
--since string 显示自时间戳以来的日志
--tail string 日志末尾显示的行数(默认为“all”)
-t, --timestamps 显示时间戳
--until string 在时间戳(比如2013-01-02T13:23:37)或亲戚(比如42m, 42分钟)之前显示日志
docker logs -f -t --tail 10 容器id 显示容器10条日志
查看容器进程信息
docker top 容器id
查看镜像元数据
docker inspect 容器id
Options:
-f, --format string 使用给定的Go模板格式化输出
-s, --size 如果类型是容器,则显示总的文件大小
--type string 返回指定类型的JSON
[root@VM-0-2-centos ~]# docker inspect 8ea5a89683a6
[
{
"Id": "8ea5a89683a6545709291e3ff32c63299fd5de42943e0b036fc273c5aca5e98b",
"Created": "2020-09-18T13:20:59.595766183Z",
"Path": "/bin/bash",
"Args": [],
"State": {
"Status": "exited",
"Running": false,
"Paused": false,
"Restarting": false,
"OOMKilled": false,
"Dead": false,
"Pid": 0,
"ExitCode": 0,
"Error": "",
"StartedAt": "2020-09-18T13:20:59.819935685Z",
"FinishedAt": "2020-09-18T13:20:59.817516049Z"
},
"Image": "sha256:0d120b6ccaa8c5e149176798b3501d4dd1885f961922497cd0abef155c869566",
"ResolvConfPath": "/var/lib/docker/containers/8ea5a89683a6545709291e3ff32c63299fd5de42943e0b036fc273c5aca5e98b/resolv.conf",
"HostnamePath": "/var/lib/docker/containers/8ea5a89683a6545709291e3ff32c63299fd5de42943e0b036fc273c5aca5e98b/hostname",
"HostsPath": "/var/lib/docker/containers/8ea5a89683a6545709291e3ff32c63299fd5de42943e0b036fc273c5aca5e98b/hosts",
"LogPath": "/var/lib/docker/containers/8ea5a89683a6545709291e3ff32c63299fd5de42943e0b036fc273c5aca5e98b/8ea5a89683a6545709291e3ff32c63299fd5de42943e0b036fc273c5aca5e98b-json.log",
"Name": "/loving_moore",
"RestartCount": 0,
"Driver": "overlay2",
"Platform": "linux",
"MountLabel": "",
"ProcessLabel": "",
"AppArmorProfile": "",
"ExecIDs": null,
"HostConfig": {
"Binds": null,
"ContainerIDFile": "",
"LogConfig": {
"Type": "json-file",
"Config": {}
},
"NetworkMode": "default",
"PortBindings": {},
"RestartPolicy": {
"Name": "no",
"MaximumRetryCount": 0
},
"AutoRemove": false,
"VolumeDriver": "",
"VolumesFrom": null,
"CapAdd": null,
"CapDrop": null,
"Capabilities": null,
"Dns": [],
"DnsOptions": [],
"DnsSearch": [],
"ExtraHosts": null,
"GroupAdd": null,
"IpcMode": "private",
"Cgroup": "",
"Links": null,
"OomScoreAdj": 0,
"PidMode": "",
"Privileged": false,
"PublishAllPorts": false,
"ReadonlyRootfs": false,
"SecurityOpt": null,
"UTSMode": "",
"UsernsMode": "",
"ShmSize": 67108864,
"Runtime": "runc",
"ConsoleSize": [
0,
0
],
"Isolation": "",
"CpuShares": 0,
"Memory": 0,
"NanoCpus": 0,
"CgroupParent": "",
"BlkioWeight": 0,
"BlkioWeightDevice": [],
"BlkioDeviceReadBps": null,
"BlkioDeviceWriteBps": null,
"BlkioDeviceReadIOps": null,
"BlkioDeviceWriteIOps": null,
"CpuPeriod": 0,
"CpuQuota": 0,
"CpuRealtimePeriod": 0,
"CpuRealtimeRuntime": 0,
"CpusetCpus": "",
"CpusetMems": "",
"Devices": [],
"DeviceCgroupRules": null,
"DeviceRequests": null,
"KernelMemory": 0,
"KernelMemoryTCP": 0,
"MemoryReservation": 0,
"MemorySwap": 0,
"MemorySwappiness": null,
"OomKillDisable": false,
"PidsLimit": null,
"Ulimits": null,
"CpuCount": 0,
"CpuPercent": 0,
"IOMaximumIOps": 0,
"IOMaximumBandwidth": 0,
"MaskedPaths": [
"/proc/asound",
"/proc/acpi",
"/proc/kcore",
"/proc/keys",
"/proc/latency_stats",
"/proc/timer_list",
"/proc/timer_stats",
"/proc/sched_debug",
"/proc/scsi",
"/sys/firmware"
],
"ReadonlyPaths": [
"/proc/bus",
"/proc/fs",
"/proc/irq",
"/proc/sys",
"/proc/sysrq-trigger"
]
},
"GraphDriver": {
"Data": {
"LowerDir": "/var/lib/docker/overlay2/e5b7e98f6272c3077722adc730c50a8e338bd8573171a584eae986f66bf83b8f-init/diff:/var/lib/docker/overlay2/f0938ac9c75ceea0d62d0b7f06c5bdd368de71227a7a0db9060caee4105a76c1/diff",
"MergedDir": "/var/lib/docker/overlay2/e5b7e98f6272c3077722adc730c50a8e338bd8573171a584eae986f66bf83b8f/merged",
"UpperDir": "/var/lib/docker/overlay2/e5b7e98f6272c3077722adc730c50a8e338bd8573171a584eae986f66bf83b8f/diff",
"WorkDir": "/var/lib/docker/overlay2/e5b7e98f6272c3077722adc730c50a8e338bd8573171a584eae986f66bf83b8f/work"
},
"Name": "overlay2"
},
"Mounts": [],
"Config": {
"Hostname": "8ea5a89683a6",
"Domainname": "",
"User": "",
"AttachStdin": false,
"AttachStdout": false,
"AttachStderr": false,
"Tty": false,
"OpenStdin": false,
"StdinOnce": false,
"Env": [
"PATH=/usr/local/sbin:/usr/local/bin:/usr/sbin:/usr/bin:/sbin:/bin"
],
"Cmd": [
"/bin/bash"
],
"Image": "centos",
"Volumes": null,
"WorkingDir": "",
"Entrypoint": null,
"OnBuild": null,
"Labels": {
"org.label-schema.build-date": "20200809",
"org.label-schema.license": "GPLv2",
"org.label-schema.name": "CentOS Base Image",
"org.label-schema.schema-version": "1.0",
"org.label-schema.vendor": "CentOS"
}
},
"NetworkSettings": {
"Bridge": "",
"SandboxID": "24bf053f42b10f6d5ac0a1039048b9c66af761150e163f53d0e86729952891c3",
"HairpinMode": false,
"LinkLocalIPv6Address": "",
"LinkLocalIPv6PrefixLen": 0,
"Ports": {},
"SandboxKey": "/var/run/docker/netns/24bf053f42b1",
"SecondaryIPAddresses": null,
"SecondaryIPv6Addresses": null,
"EndpointID": "",
"Gateway": "",
"GlobalIPv6Address": "",
"GlobalIPv6PrefixLen": 0,
"IPAddress": "",
"IPPrefixLen": 0,
"IPv6Gateway": "",
"MacAddress": "",
"Networks": {
"bridge": {
"IPAMConfig": null,
"Links": null,
"Aliases": null,
"NetworkID": "274b3e2bcd6211b374fbda1625d6d722f3658fafd5b1cc9feb11d050473c281b",
"EndpointID": "",
"Gateway": "",
"IPAddress": "",
"IPPrefixLen": 0,
"IPv6Gateway": "",
"GlobalIPv6Address": "",
"GlobalIPv6PrefixLen": 0,
"MacAddress": "",
"DriverOpts": null
}
}
}
}
]
进入当前正在运行的容器命令
我们通常都是以后台方式运行容器,需要进入容器,修改一些配置
docker exec -it 容器id /bin/bash 第一种方式 :进入容器后开启一个新的终端,可以在里面操作
docker attach 第二种方式:进入容器正在执行的终端,不会启动新的进程
从容器copy文件到宿主机上
docker cp 容器id:文件容器内路径 主机路径
docker命令小结
![]()
attach #当前shell下链接指定镜像
build #通dockerfile定制镜像
commit #提交当前容器为新镜像
cp #拷贝容器文件到宿主机
create #创建一个新容器,同run ,但不启动容器
diff #查看docker容器变化
events #从docker服务器中获取实时时间
exec #在已存在的容器上运行命令
export #导出容器的内容为一个tar,归档文件,对应import
history #展示一个镜像形成历史
images #列出系统当前镜像
import #从tar包中的内容创建一个新的文件系统映像
info #显示系统相关信息
inspect #查看当前容器详细信息
kill #杀掉指定docker容器
load #从一个tar包中加载一个镜像
login #注册或者登陆一个docker源服务器
logout #退出
logs #输出当前容器日志信息
port #查看映射对应的容器内部源端口
pause #暂停容器
ps #列出容器列表
pull #从docker服务器拉取指定镜像,或者库镜像
push #推送指定镜像或者库镜像至docker源服务器
restart #重启运行的容器
rm #删除一个或者多个容器
rmi #删除一个或多个镜像【无使用才行,否者需删除相关容器或者 -f强制删除】
run #创建一个新的容器并运行一个命令
save #保存一个镜像为有个tar包,对应load
search #在docker hub中搜索镜像
start #启动容器
stop #停止容器
tag #给源中镜像打标签
top #查看容器中运行进程信息
unpause #取消暂停容器
version #查看docker版本号
wait #截取容器停止时的退出状态值
nginx
docker run -d --name nginx01 -p 3344:80 nginx /bin/bash #-d后台运行 --name 容器名 -p 配置外网端口映射到容器80端口
portainer可视化工具
docker run -d -p 8088:9000 \
--restart=always -v /var/run/docker.sock:/var/run/docker.sock --privileged=true portainer/portainer
docker镜像原理
镜像是什么
镜像是一钟轻量级,可执行的独立软件包,用来打包软件运行环境开发的软件,他包含运行某个软件所需要的所有内容,包括代码、运行时、库、环境和、配置文件
所有应用,直接包成一个docker镜像,直接跑起来。
如何得到镜像:
- 从远程仓库下载
- 朋友copy
- 自己制作
docker镜像加载原理
UnionFS(联合文件系统)
UnionFS(联合文件系统):Uinon 文件系统(UinonFS)是一种分层、轻量级且高性能的文件系统,它支持对文件系统的修改,作为一次提交来一层层的叠加,同时可以将不同目录挂载到同一个虚拟文件系统下,Union文件系统是docker镜像的基础,镜像可以通过分层来进行继承,基于基础镜像。可以制作各种具体的应用镜像。
==特征:==一次同时加载多个文件系统,但从外面看起来,只能看到一个文件系统,联合加载会把各层文件系统叠加起来,这样最终的文件系统包含所有底层的文件和目录
docker的镜像原理
docker的镜像实际上是由一层一层的文件系统组成,这种层级的文件系统UnionFS.
bootfs(boot file system) 主要包含bootloader和 kernel,bootloader主要引导加载kernel,linux刚启动时会加载bootfs文件系统,在docker镜像的最底层是bootfs,这一层与我们典型的linux系统是一样的,包含bootfs加载器和内核,当bootfs加载完以后,整个内核都在内存之中了,此时内存的使用权限已有bootfs转交给内核,此时系统也会卸载bootfs.
rootfs(root file system) ,在bootfs之上,包含的就是典型的linux系统中的/dev ,/proc,/bin,/etc,等标准文件和目录,rootfs就是各种不同的操作系统发行版,比如centos,ubuntu等
![]()
平时我们安装虚拟机的时候都是几个g,为什么docker这么小?
对于一个精简的os,rootfs可以很小,只需要包含基本的命令,工具库和程序就可以了,因为底层直接用Host的kernel,自己只需要通过rootfs就可以了,由此可见对于不同的linux发行版,bootfs基本一致,rootfs会有些差别,因此不同的发行版可以共用bootfs。
镜像分层原理
我们下载镜像观察下面日志输出,会是会发现一层一层在下载。
![]()
最大的好处就是资源共享。比如多个镜像都从相同的Base镜像构建而来,那么宿主机只需要在磁盘上保留一份base镜像,同时内存中也只需要加载一份base镜像,这样就可以为所有容器服务了,而镜像的每一层都可以被共享。
查看镜像的分层方式
dockerimage inspect nginx:latest
理解:
所有的docker镜像都起始于一个基础镜像层,当前修改或增加新的内容时,就会在当前的镜像层之上,创建新的镜像层。举一个简单的列子,假如基于Ubuntu linux 16.04创建一个新的镜像,这就是镜像的第一层,如果在镜像中添加python包,就会在基础镜像层之上创建第二个镜像层,如果继续添加一个安全补丁,就会创建第三层,
该镜像目前已经包含三个镜像层。如下图所示。
![]()
在添加额外的镜像层的同时,镜像始终保持是当前所有镜像的组合,理解这一点非常重要,下图中举了一个例子,每个镜像层包含三个文件,二镜像包含了两个镜像层的6个文件。
![]()
上图的镜像层跟之前图中的略有区别,主要目的是为了便于展示文件,
下图中展示了一个稍微复杂的三层镜像,在外部看来整个镜像只有6个文件,这是应为最上层的文件7是文件5的一个更新版本。
![]()
这种情况下,上层镜像层中的文件覆盖了底层镜像中的文件,这样就使得文件的更新版本作为一个新的镜像添加到镜像当中。
linux上的可用存储引擎有Aufs、Overlay2、Device、Mapper、Btrfs以及ZFS。顾名思义,每种引擎都基于Linux中对应的文件系统或者块设备技术,并且每种存储引擎都有其独有的性能特点。
docker在windows上仅支持windowsfilter一种存储引擎,该引擎基于NTFS文件系统之上实现了分层和coW[1]
下图展示了与系统显示相同的三层镜像,所有镜像层堆叠合并,对外提供统一的视图。
![]()
特点
docker镜像都是只读的,当容器启动时,一个新的可写层被加载到镜像的顶部,这一层就是我们常说的容器层,容器之下都是镜像层。
commit镜像
docker commit 提交容器成为一个新副本
Options:
-a, --author string Author (e.g., "John Hannibal Smith <hannibal@a-team.com>") 作者
-c, --change list Apply Dockerfile instruction to the created image 对创建的映像应用Dockerfile指令
-m, --message string Commit message 提交消息(
-p, --pause Pause container during commit (default true)提交期间暂停容器(默认为true)
##提交一个修改后的镜像
[root@VM-0-2-centos /]# docker commit -a="qicong" -m="add webapps *" bfbcd4e044f0 tomcat1.0
sha256:ae59becc405e57677b90ddcd790166c6e3e8d7d809f859998a56df4f8fe025c6
[root@VM-0-2-centos /]# docker images
REPOSITORY TAG IMAGE ID CREATED SIZE
tomcat1.0 latest ae59becc405e 6 seconds ago 652MB
tomcat latest f796d3d2c195 3 days ago 647MB
nginx latest 7e4d58f0e5f3 9 days ago 133MB
mysql latest e1d7dc9731da 9 days ago 544MB
centos latest 0d120b6ccaa8 5 weeks ago 215MB
portainer/portainer latest 62771b0b9b09 8 weeks ago 79.1MB
hello-world latest bf756fb1ae65 8 months ago 13.3kB
容器数据卷
什么是容器数据卷
如果我们把数据存放在容器中,容器一点删除,我们数据就会丢失。
因此我们就有了新的需求:数据持久化=>数据可以存储在本地。
容器之间可以有一个数据共享的技术,docker容器产生数据,同步到本地。
这就是卷技术,说白了就是目录的挂在,将容器内的目录,挂载在linux上
![]()
使用数据卷
方式一:直接使用命令挂载 -v
docker run -it -v 主机目录:容器内目录 镜像
docker run -it -v /home/ceshi:/home 镜像 /bin/bash
docker inspect 容器id 查看容器详细信息
![]()
双向绑定测试
docker run -it --name="centos01" -v /home/ceshi:/home/ceshi centos /bin/bash
![]()
mysql实战
#下载镜像
[root@VM-0-2-centos /]# docker pull mysql:5.7
#启动镜像
-d 后台运行
-p 端口映射
-v 卷挂载
-e 环境配置
--name 容器名
docker run -d -p 3307:3306 -v /home/mysql/conf:/etc/mysql/conf.d
-v/home/mysql/data:/var/lib/mysql -e MYSQL_ROOT_PASSWORD=shank123.@
--name mysql01 mysql:5.7
[root@VM-0-2-centos /]# docker run -d -p 3307:3306 -v /home/mysql/conf:/etc/mysql/conf.d -v/home/mysql/data:/var/lib/mysql -e MYSQL_ROOT_PASSWORD=shank123.@ --name mysql01 mysql:5.7
471ad0a5cc728b7ac74bec7ea18b8195ac2879d495a3b74a1fcb7c5e93b37ce8
具名挂载和匿名挂载
#匿名挂载
#-v 容器内路径 大写P随机端口
docker run -d -P --name nginx01 -v /etc/nginx nginx
#查看所有的volume 情况
docker volume ls
[root@VM-0-2-centos ~]# docker volume ls
DRIVER VOLUME NAME
local 7608458f2e84925a7657edfbc7a4ce2cef08251a87eddce7769f80c006abf5eb
local d842ebbfa47898f7effd3f7dce1f1c40a6c22d5282ee6119d7f1e29991b515ab
#这种就是匿名挂载,我们在-v只写了容器内的路径,没有写容器外的路径。
#具名挂载
docker run -d -P --name nginx01 -v nginx_juming:/etc/nginx nginx
[root@VM-0-2-centos ~]# docker run -d -P --name nginx01 -v juming_nginx:/etc/nginx nginx
f4dd74e9fe3f31d7e380dd9d5a81d9905fa277c30d02d68a091541fc95792fbf
[root@VM-0-2-centos ~]# docker volume ls
DRIVER VOLUME NAME
local 7608458f2e84925a7657edfbc7a4ce2cef08251a87eddce7769f80c006abf5eb
local d842ebbfa47898f7effd3f7dce1f1c40a6c22d5282ee6119d7f1e29991b515ab
local fed9c5bf3184ebf64d1313c2810b19ebbb97b68388df7ff7b5c4c81d37e37a3b
local juming_nginx
#具名挂载后显示我们指定的名字
#查看具名挂载卷详细信息
docker volune inspect [挂载卷name]
[root@VM-0-2-centos ~]# docker volume inspect juming_nginx
[
{
"CreatedAt": "2020-09-21T02:20:01+08:00",
"Driver": "local",
"Labels": null,
"Mountpoint": "/var/lib/docker/volumes/juming_nginx/_data",
"Name": "juming_nginx",
"Options": null,
"Scope": "local"
}
]
#如何区分具名和匿名挂载
-v 容器内路径 #匿名挂载
-v 卷名:容器内路径 #具名挂载
-v /宿主机路径:/容器内路径 #指定挂载路径
扩展
#经常又在容器卷后面加ro 或者rw
#ro readonly 只读
#rw readwrite 读写
docker run -d -P --name nginx01 -v juming_nginx:/etc/nginx:ro nginx
docker run -d -P --name nginx01 -v juming_nginx:/etc/nginx:rw nginx
初识Dockerfile
Dockerfile 就是用来构建docker镜像的构建文件!命令脚本。
通过这个脚本生成镜像,镜像是一层一层的,脚本的每个命令都是一层
#创建一个dockerfile文件,名字可以随机,但建议使用Dockerfile
#文件内容、指令(大写)、参数
#创建文件
touch dockerfile #vim dockerfile 一样
#文件内容
FROM centos
VOLUME ["volume01","volume01"] #挂载容器内目录路径
CMD echo "--------------ech0----------------"
CMD /bin/bash
build镜像
docker build -f [文件] -t [镜像名] . (!!!后面有一个小数点)
[root@VM-0-2-centos dockerfile_test]# docker build -f dockerfile -t qicong_centos .
Sending build context to Docker daemon 2.048kB
Step 1/4 : FROM centos
---> 0d120b6ccaa8
Step 2/4 : VOLUME ["/home/test01","/home/test02"]
---> Running in dfdb7d62eb55
Removing intermediate container dfdb7d62eb55
---> 765fcc5129f0
Step 3/4 : CMD echo "----------echo-------------"
---> Running in 93cdf668be14
Removing intermediate container 93cdf668be14
---> 977df8414c92
Step 4/4 : CMD /lib/bash
---> Running in 00081803f616
Removing intermediate container 00081803f616
---> 8bc3f04a76a6
Successfully built 8bc3f04a76a6
Successfully tagged qicong_centos:latest
数据卷容器
多个容器之间数据互享,数据同步
![]()
–volumes-from 从指定的容器装入卷(copy容器在宿主机上的卷配置)
多个mysql实现数据共享
#先开启一个mysql
docker run -d -p 3307:3306 -v /home/mysql/conf:/etc/mysql/conf.d
-v/home/mysql/data:/var/lib/mysql -e MYSQL_ROOT_PASSWORD=shank123.@
--name mysql01 mysql:5.7
#在开启一个的时候直接 --volumes-from 上一个
docker run -d -p 3307:3306 /etc/mysql/conf.d
/var/lib/mysql -e MYSQL_ROOT_PASSWORD=shank123.@
--name mysql02 --volumes-from mysql01 mysql:5.7
两个mysql的不同数据卷挂载在一个宿主机卷上面,实现了数据共享。
dockerfile
dockerfile 是用来构建镜像的文件,命令参数脚本
步骤:
- 写一个docker文件
- docker build 成一个镜像
- docker run 发布
Dockerfile构建过程
基础知识:
- 每个保留关键字(指令)都必须大写
- 执行顺序从上往下
- #表示注释
- 每一个指令都会提交一个新的镜像层,并提交

dockerfile是面向开发的,我们以后要发布项目,做镜像,就需要编写dockerfile文件。
dockerfile:构建文件,定义了一切的步骤,源代码
dokcerimages :通过dockerfile构成的镜像,最终发布和运行的产品
docker容器:就是镜像运行起来提供服务。
dockerfile的指令
![]()
FROM #基础镜像,一切的开始
MAINTAINER #谁写的, 姓名+<邮箱> qicong<xxx@163.com>
RUN #构建镜像时运行的命令
Add #添加tomcat jdk nginx 等安装包之类的 ADD 包名 容器内存放路径
WOEKDIR #工作目录 进入容器时的目录
VOLUME #挂载的目录
EXPOSE #暴露的端口
CMD #指定这个容器运行时要运行的命令 如果在运行的时候添加参数什么的可能会导致覆盖docker里面的指令,
ENTRYPOINT #指定这个容器运行时要运行的命令,指令会在后看叠加,不会像CMD一样出现覆盖情况。
ONBUILD #当构建一个被继承dockerfile 这个时候就会执行ONBUILD的指令(触发指令,了解下)
COPR #类似ADD,将文件拷贝到镜像中。
ENV #构建的时候设置环境变量
实战测试:构建自己的centos 包含tomcat jdk
基本所有的镜像都是从 FROM ==scratch ==这个基础镜像来的
![]()
#基础镜像
FROM centos
#作者信息
MAINTAINER qicong<qicong77@163.com>
#copy readme.txt
COPY readme.txt /usr/local/readme.txt
#添加压缩包
ADD jdk-11.0.7_linux-x64_bin.tar.gz /usr/local/
ADD apache-tomcat-9.0.34.tar.gz /usr/local/
#添加一些没有的命令
RUN yum -y install vim
#设置环境变量
ENV MYPATH /usr/local/
#设置工作目录
WORKDIR $MYPATH
#配置java环境变量
ENV JAVA_HOME /usr/local/jdk-11.0.7
ENV CLASSPATH $JAVA_HOME/lib/dt.jar:$JAVA_HOME/lib/tools.jar
#配置tomcat
ENV CATALINA_HOME /usr/local/apache-tomcat-9.0.34
ENV CATALINA_BASH /usr/local/apache-tomcat-9.0.34
ENV PATH $PATH:$JAVA_HOME/bin:$CATALINA_HOME/lib:$CATALINA_HOME/bin
#暴露端口
EXPOSE 8080
#启动tomcat
CMD /usr/local/apache-tomcat-9.0.34/bin/startup.sh && tail -F /usr/local/apache-tomcat-9.0.34/logs/catalina.out
#build
docker build -f mycentos -t mycentos #dockerfile 文件名 build后的镜像名
#run
docker run -d -p:3355:8080 -v /home/qicong/tomcat/test:/usr/local/apache-tomcat-9.0.34/webapps/test -v /home/qicong/tomcat/logs/:/usr/local/apache-tomcat-9.0.34/logs
--name mycentos mycentos
docker小结
![]()
docker run -d -p:3355:8080 -v /home/qicong/tomcat/test:/usr/local/apache-tomcat-9.0.34/webapps/test -v /home/qicong/tomcat/logs/:/usr/local/apache-tomcat-9.0.34/logs
–name mycentos mycentos
docker网络
ip addr 查看网络
![]()
三个网络
docker 是如何处理容器网络的
![]()
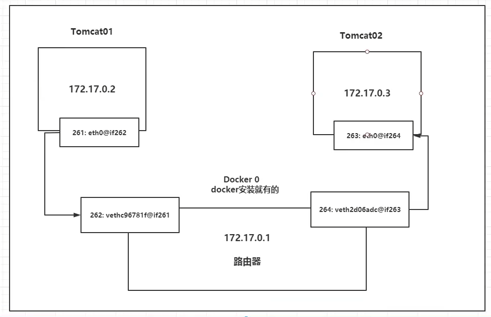
启动一个tomcat,然后查询它的网络
#查看内部网络地址 ip addr ,发现容器启动时会得到一个 eth0@if169 ip地址 docker自动分配的
[root@VM-0-2-centos ~]# docker exec -it mycentos ip addr
1: lo: <LOOPBACK,UP,LOWER_UP> mtu 65536 qdisc noqueue state UNKNOWN group default qlen 1000
link/loopback 00:00:00:00:00:00 brd 00:00:00:00:00:00
inet 127.0.0.1/8 scope host lo
valid_lft forever preferred_lft forever
168: eth0@if169: <BROADCAST,MULTICAST,UP,LOWER_UP> mtu 1500 qdisc noqueue state UP group default
link/ether 02:42:ac:11:00:03 brd ff:ff:ff:ff:ff:ff link-netnsid 0
inet 172.17.0.3/16 brd 172.17.255.255 scope global eth0
valid_lft forever preferred_lft forever
linux能不能ping通这个地址 ???
#可以ping通
[root@VM-0-2-centos ~]# ping 172.17.0.3
PING 172.17.0.3 (172.17.0.3) 56(84) bytes of data.
64 bytes from 172.17.0.3: icmp_seq=1 ttl=64 time=0.046 ms
64 bytes from 172.17.0.3: icmp_seq=2 ttl=64 time=0.044 ms
64 bytes from 172.17.0.3: icmp_seq=3 ttl=64 time=0.050 ms
64 bytes from 172.17.0.3: icmp_seq=4 ttl=64 time=0.044 ms
64 bytes from 172.17.0.3: icmp_seq=5 ttl=64 time=0.041 ms
64 bytes from 172.17.0.3: icmp_seq=6 ttl=64 time=0.047 ms
64 bytes from 172.17.0.3: icmp_seq=7 ttl=64 time=0.047 ms
64 bytes from 172.17.0.3: icmp_seq=8 ttl=64 time=0.042 ms
64 bytes from 172.17.0.3: icmp_seq=9 ttl=64 time=0.043 ms
原理
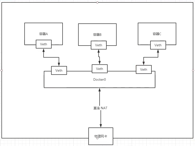
docker没启动一个容器,就会分配一个ip地址,我们只要安装了docker,docker就会有一个网卡,是桥接模式,用的技术是veth-pair技术。
![]()
![]()
发现容器带来的网卡,都是成对的
veth-pair 就是一对一对的虚拟设备接口他们都是成对出现的,一段协议,一般彼此相连。
正因为这个特性,veth-pair充当一个桥梁,链接各种虚拟网络设备。
网络模型图
![]()
tomcat01 和tomcat02 共用一个路由器[docker0]。
所有的容器不知道网络的情况下共用docker0路由的。docker会为我们的容器分配一个默认的可用ip
小结
docker使用的是linux桥接
![]()
–link
思考一个场景,我们创建了一个微服务。项目不重启。数据库ip换掉了,我们希望可以处理这个问题,可以使用名字来访问容器?
#开启第二个tomcat
[root@VM-0-2-centos ~]# docker run -d -p:3355:8080 -v /home/qicong/tomcat/test:/usr/local/apache-tomcat-9.0.34/webapps/test -v /home/qicong/tomcat/logs/:/usr/local/apache-tomcat-9.0.34/logs --name mycentos02 mycentos
7d0449a820ff4267ffe226d8a9ebd19ce7ed750e1fcca6461a2683e2f95f33e8
#用容器名ping不通
[root@VM-0-2-centos ~]# docker exec -it mycentos02 ping mycentos02
ping: mycentos02: Name or service not known
![]()
探究inspect
![]()
其实这个tomcat03 就是在本地配置了tomcat02的配置
![]()
–link 就是在hosts配置里配置了一个172…18.0.3 tomcat02 312857784cd4
现在玩docker 不建议使用–link
自定义网络 不适用 docker0
docker0 不支持容器名访问。
自定义网络
docker network docker网卡
网络模式
- bridge 桥接模式(默认,一般都使用桥接 )
- none 不配置网络
- host 和宿主机共享网络
- contaiher 容器内网络连通(用的少,局限很大, 不建议使用)
[root@VM-0-2-centos ~]# docker network --help
Commands:
connect Connect a container to a network #将容器连接到网络
create Create a network #创建一个网络
disconnect Disconnect a container from a network #断开容器与网络的连接
inspect Display detailed information on one or more networks #显示一个或多个网络上的详细信息
ls List networks #网络列表
prune Remove all unused networks #删除所有未使用的网络
rm Remove one or more networks #删除一个或多个网络
创建自己的网络
#--driver bridge 网络模式为桥接模式
#--subnet 192.168.1.0/16 表示网络段的CIDR格式子网
#--gateway 192.168.1.1 主子网的IPv4或IPv6网关
# mynet 网关名
[root@VM-0-2-centos ~]# docker network create --driver bridge --subnet 192.168.1.0/16 --gateway 192.168.1.1 mynet
7d56c42822f544e1d20cc733403681c5c7b840d9692c8b3f700c9b11b74d1522
[root@VM-0-2-centos ~]# docker network ls
NETWORK ID NAME DRIVER SCOPE
274b3e2bcd62 bridge bridge local
24e13af5818f host host local
7d56c42822f5 mynet bridge local
2da5cb5ee026 none null local
我们自己的网络就创建好了:docker network inspect mynet 查看
[root@VM-0-2-centos ~]# docker network create -d bridge --subnet 192.168.0.0 --gateway 192.168.0.1 mynet
invalid subnet: invalid CIDR address: 192.168.0.0
[root@VM-0-2-centos ~]# docker network create -d bridge --subnet 192.168.0.0/16 --gateway 192.168.0.1 mynet
b6413e276e46ecb2dd45b2c41fc8a0e7817fcf22136e609cf5d7db385a1ff7ab
[root@VM-0-2-centos ~]# docker run -d -p:3344:8080 --net mynet -v /home/qicong/tomcat/test:/usr/local/apache-tomcat-9.0.34/webapps/test -v /home/qicong/tomcat/logs/:/usr/local/apache-tomcat-9.0.34/logs --name mycentos01 mycentos
7e719cbe2dd12ae0083b8de7d7806d9ed1f39ea52958454230d406b51dd7a89d
[root@VM-0-2-centos ~]# docker run -d -p:3355:8080 --net mynet -v /home/qicong/tomcat/test:/usr/local/apache-tomcat-9.0.34/webapps/test -v /home/qicong/tomcat/logs/:/usr/local/apache-tomcat-9.0.34/logs --name mycentos02 mycentos
990addf99aaff20a047be5c80e14f4c576db6a45faa43a7b001d0c346346af44
#创建的网关信息
[root@VM-0-2-centos ~]# docker network inspect mynet
[
{
"Name": "mynet",
"Id": "b6413e276e46ecb2dd45b2c41fc8a0e7817fcf22136e609cf5d7db385a1ff7ab",
"Created": "2020-09-23T12:47:00.215966419+08:00",
"Scope": "local",
"Driver": "bridge",
"EnableIPv6": false,
"IPAM": {
"Driver": "default",
"Options": {},
"Config": [
{
"Subnet": "192.168.0.0/16",
"Gateway": "192.168.0.1"
}
]
},
"Internal": false,
"Attachable": false,
"Ingress": false,
"ConfigFrom": {
"Network": ""
},
"ConfigOnly": false,
"Containers": {
"7e719cbe2dd12ae0083b8de7d7806d9ed1f39ea52958454230d406b51dd7a89d": {
"Name": "mycentos01",
"EndpointID": "9ae36bb9bb9236433ef28649747e0b4972612c4ea1f1ba311a1718d1c9e02cf8",
"MacAddress": "02:42:c0:a8:00:02",
"IPv4Address": "192.168.0.2/16",
"IPv6Address": ""
},
"990addf99aaff20a047be5c80e14f4c576db6a45faa43a7b001d0c346346af44": {
"Name": "mycentos02",
"EndpointID": "8763bffd9136063d097a51ff3be1140fb942a1ffc600dce432334f8300c363f9",
"MacAddress": "02:42:c0:a8:00:03",
"IPv4Address": "192.168.0.3/16",
"IPv6Address": ""
}
},
"Options": {},
"Labels": {}
}
]
创建容器的时候配置自己创建的网关:
[root@VM-0-2-centos ~]# docker run -d -p:3344:8080 --net mynet -v /home/qicong/tomcat/test:/usr/local/apache-tomcat-9.0.34/webapps/test -v /home/qicong/tomcat/logs/:/usr/local/apache-tomcat-9.0.34/logs --name mycentos01 mycentos
34221252ed173fb05aeb2de9cd3993134164e7c8c4246782464e6dc6090f37ca
[root@VM-0-2-centos ~]# docker run -d -p:3355:8080 --net mynet -v /home/qicong/tomcat/test:/usr/local/apache-tomcat-9.0.34/webapps/test -v /home/qicong/tomcat/logs/:/usr/local/apache-tomcat-9.0.34/logs --name mycentos02 mycentos
56d41d54bff6e89f2d0abde00e39024788c1c351eef7ca65dc1af053331cff15
#可以直接ping通
[root@VM-0-2-centos ~]# docker exec -it mycentos01 ping mycentos02
PING mycentos02 (192.168.0.3) 56(84) bytes of data.
64 bytes from mycentos02.mynet (192.168.0.3): icmp_seq=1 ttl=64 time=0.047 ms
64 bytes from mycentos02.mynet (192.168.0.3): icmp_seq=2 ttl=64 time=0.045 ms
网络连接
上面创建了一个mynet网络,在创建一个mynet2
[root@VM-0-2-centos ~]# docker network create -d bridge --subnet 192.167.0.0/16 --gateway 192.167.0.1 mynet2
6629af76b575e8ba4bc6d8e3fd93a503a9a074503279e1cfbe8bfc0c8cccf67d
属于不同网络网段的的容器之间是不能ping通的
想要两者能够连接 就需要使用 connect
![]()
Options:
#为容器添加网络范围的别名
--alias strings Add network-scoped alias for the container
#网络驱动程序选项
--driver-opt strings driver options for the network
#ipv4地址
--ip string IPv4 address (e.g., 172.30.100.104)
#IPv6地址
--ip6 string IPv6 address (e.g., 2001:db8::33)
#添加链接到另一个容器
--link list Add link to another container
#为容器添加一个链接本地地址
--link-local-ip strings Add a link-local address for the container
![]()
测试打通网段
docker network connect [网络] [容器]
[root@VM-0-2-centos ~]# docker network connect mynet mycentos04
连通之后就是将我们mycentos04加入到mynet网络下
用mycentos04去ping mycengos,发现能够ping通了
[root@VM-0-2-centos ~]# docker exec -it mycentos04 ping mycentos01
PING mycentos01 (192.168.0.2) 56(84) bytes of data.
64 bytes from mycentos01.mynet (192.168.0.2): icmp_seq=1 ttl=64 time=0.054 ms
64 bytes from mycentos01.mynet (192.168.0.2): icmp_seq=2 ttl=64 time=0.047 ms
但没有加入的mycentos03却不行
[root@VM-0-2-centos ~]# docker exec -it mycentos03 ping mycentos01
ping: mycentos01: Name or service not known
官方叫: 一个容器,两个ip
docker 镜像保存
如果需要保存某个镜像,可以使用docker命名将他它打包为一个tar文件存放
也可以将这个文件传输给其他宿主机,加载这个文件,恢复为容器
保存
# docker save -o [filename] [镜像]
docker save -o nginx2.0.tar nginx2.0
传输
# scp nginx2.0.tar [要推送的服务器ip加文件夹]
scp nginx2.0.tar root@192.168.1.1:/root/
使用工具下载上传也一样
恢复
docker load -i nginx2.0.tar
容器推送dockerhub
#把旧镜像的名字,改成仓库要求的新版名字
docker tag nginx2.0 qicong777/kkggwer:2.0
# 登录 dockerhub
docker login
#推送
docker push qicong777/kkggwer:2.0
#退出登录
docker logout